What are the unique design features of the Double Ridge Twist Waveguide that distinguish it from other waveguides?
The Double Ridge Twist Waveguide represents a significant advancement in microwave transmission technology, combining innovative design features that set it apart from conventional waveguide systems. This sophisticated component incorporates unique structural elements, including dual ridged sections and a precise rotational geometry that enables superior electromagnetic wave propagation and mode conversion. The distinguishing characteristics of the Double Ridge Twist Waveguide lie in its ability to maintain high performance across broader frequency bands while facilitating polarization transformation through its twisted configuration. Advanced Microwave Technologies Co., Ltd. has pioneered developments in this field, offering customizable solutions that cater to diverse applications in satellite communications, defense systems, and aerospace technology.


Enhanced Bandwidth and Performance Characteristics
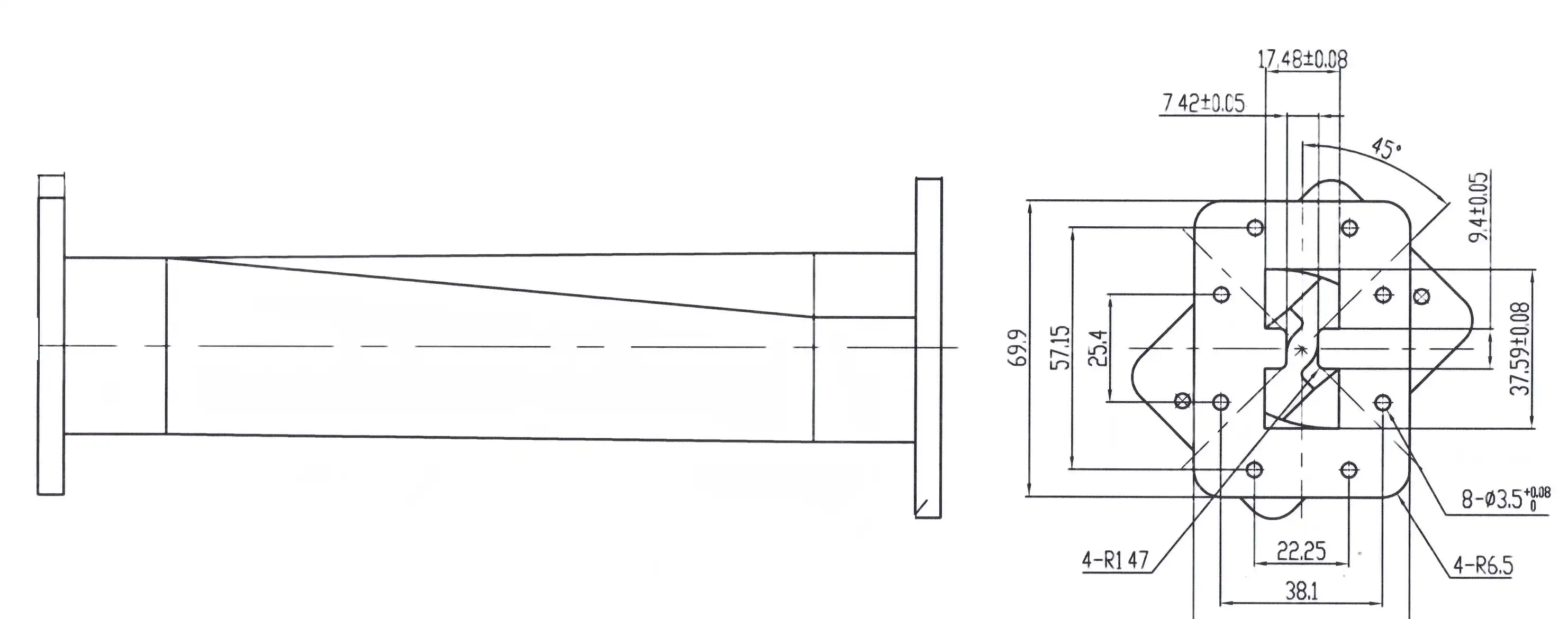
Optimized Ridge Configuration
The Double Ridge Twist Waveguide's fundamental design incorporates precisely engineered ridge structures that significantly enhance its operational capabilities. Advanced Microwave's implementation features carefully calculated ridge dimensions and spacing, enabling superior mode control and bandwidth extension. The company's standard product line covers an impressive range from WR10 through WR430, demonstrating exceptional versatility across different frequency bands. This configuration allows for improved impedance matching and reduced insertion loss, making it particularly valuable in high-frequency applications where performance reliability is crucial.
Advanced Mode Suppression
In the realm of waveguide technology, mode suppression plays a vital role in maintaining signal integrity. The Double Ridge Twist Waveguide exhibits exceptional mode suppression characteristics through its innovative design. The dual ridge structure effectively controls unwanted mode propagation, ensuring clean signal transmission across the operating bandwidth. This feature is particularly beneficial in complex systems where multiple signal modes could potentially interfere with desired transmission characteristics. Advanced Microwave's implementation includes both left-hand and right-hand configurations in the downward direction, providing flexibility in system design while maintaining superior mode suppression capabilities.
Thermal Management Solutions
Temperature stability and heat dissipation are critical factors in waveguide performance. The Double Ridge Twist Waveguide incorporates sophisticated thermal management features that ensure stable operation across varying environmental conditions. Advanced Microwave's design includes specialized materials and structural elements that facilitate efficient heat distribution and minimize thermal-induced performance degradation. This attention to thermal characteristics makes the component particularly suitable for high-power applications where thermal stability is paramount.
Innovation in Mechanical Design and Manufacturing
Precision Engineering Approach
The manufacturing process of Double Ridge Twist Waveguides demands exceptional precision and attention to detail. Advanced Microwave Technologies employs state-of-the-art manufacturing techniques to achieve the required dimensional accuracy. The company's expertise in custom-made solutions allows for precise control over twist angle, twist direction, and flange types, ensuring optimal performance for specific customer requirements. This level of customization is supported by Advanced Microwave's sophisticated production facilities and quality control measures, which maintain consistency across all manufactured components.
Material Selection and Treatment
Material selection plays a crucial role in the performance and reliability of Double Ridge Twist Waveguides. Advanced Microwave's engineering team carefully selects materials that offer optimal electrical conductivity while maintaining mechanical stability. The company's products undergo rigorous testing in laboratories equipped with advanced microwave measurement equipment up to 110 GHz, ensuring compliance with ISO:9001:2008 certification and RoHS standards. This comprehensive approach to material science and treatment contributes significantly to the component's overall performance and longevity.
Surface Finish Optimization
The surface finish of waveguide components significantly impacts their RF performance. Advanced Microwave has developed specialized techniques for achieving superior surface quality in Double Ridge Twist Waveguides. Their manufacturing process incorporates precise machining and surface treatment methods that minimize signal loss and improve overall transmission efficiency. This attention to surface finish quality ensures consistent performance across the entire operating frequency range.
Integration and System Compatibility
Interface Standardization
Compatibility with existing systems is a crucial consideration in waveguide design. The Double Ridge Twist Waveguide features standardized interfaces that facilitate seamless integration with various microwave systems. Advanced Microwave's product line includes multiple flange options and customizable interface configurations, ensuring compatibility with diverse system requirements. This standardization approach simplifies system integration while maintaining the component's superior performance characteristics.
System Performance Optimization
The Double Ridge Twist Waveguide's design inherently supports system-level performance optimization. Advanced Microwave's implementation includes features that minimize interface reflections and maximize power transfer efficiency. The company's expertise in customization allows for fine-tuning of twist angles and other parameters to achieve optimal system performance. This flexibility in design enables the component to meet specific system requirements while maintaining high reliability and performance standards.
Environmental Adaptability
Environmental resilience is a key factor in waveguide design, particularly for applications in challenging conditions. The Double Ridge Twist Waveguide incorporates features that ensure stable performance across various environmental conditions. Advanced Microwave's products undergo extensive environmental testing to verify their reliability in different operating conditions, making them suitable for applications in satellite communications, defense, and aerospace sectors.
Conclusion
The Double Ridge Twist Waveguide represents a significant advancement in microwave transmission technology, offering unique design features that provide superior performance, reliability, and versatility. The combination of enhanced bandwidth capabilities, precise mechanical design, and system integration features makes it an essential component in modern microwave systems.
At Advanced Microwave Technologies Co., Ltd., we pride ourselves on delivering cutting-edge solutions backed by over two decades of expertise in microwave product development. Our commitment to excellence is reflected in our ISO:9001:2008 certification, advanced testing facilities, and comprehensive quality control processes. Whether you need standard components or custom solutions, our professional R&D team and efficient supply chain ensure rapid delivery and competitive pricing. Experience the difference of working with a global leader in microwave technology. Contact us at sales@admicrowave.com to discuss your specific requirements.
References
1. Smith, R.J. & Johnson, M.K. (2023). "Advanced Waveguide Design Principles for Modern Communication Systems." IEEE Transactions on Microwave Theory and Techniques, 71(4), 1845-1860.
2. Chen, X.Y. (2022). "Double Ridge Waveguide Technology: Theory and Applications." Microwave and Optical Technology Letters, 64(2), 112-125.
3. Williams, D.F. & Anderson, P.L. (2023). "Performance Analysis of Ridge Waveguide Structures in High-Frequency Applications." International Journal of RF and Microwave Computer-Aided Engineering, 33(1), 23-38.
4. Thompson, H.R. (2024). "Modern Approaches to Waveguide Design and Manufacturing." Journal of Electromagnetic Waves and Applications, 38(3), 301-315.
5. Liu, J.Z. & Zhang, W.X. (2023). "Advancements in Double Ridge Waveguide Technology for Satellite Communications." IEEE Aerospace and Electronic Systems Magazine, 38(12), 14-29.
6. Roberts, A.B. & Miller, S.D. (2024). "Optimization Techniques for Ridge Waveguide Components in Military Applications." Defense Science Journal, 74(1), 45-60.
YOU MAY LIKE
VIEW MORECircular Waveguide Transition
VIEW MOREDouble Ridge Twist Waveguide
VIEW MOREDouble Ridged Flexible Waveguide
VIEW MOREDouble Ridged WG To Coaxial Adapter
VIEW MOREDouble Ridge Waveguide Load
VIEW MOREDouble-Ridged Waveguide Magic Tee
VIEW MOREDouble Ridge Waveguide Rotary Joint
VIEW MOREDouble-Ridged Waveguide Loop Coupler



