Installation and Calibration Guidelines for Point Focusing Horn Lens Antennas
The installation and calibration of Point Focusing Horn Lens Antennas represent critical processes that directly impact the performance of advanced microwave systems. These specialized antennas, composed of conical horn or conical corrugated horn and convex lens designs, create a precise focal spot at a predetermined distance, making them invaluable for applications requiring exceptional signal precision. This comprehensive guide outlines the essential procedures, techniques, and considerations necessary for optimal installation and calibration of Point Focusing Horn Lens Antennas, ensuring maximum operational efficiency and accuracy in both research and commercial applications.
Fundamental Installation Requirements for Point Focusing Horn Lens Antennas
Site Preparation and Environmental Considerations
The installation environment for a Point Focusing Horn Lens Antenna significantly impacts its performance capabilities. Before beginning the installation process, a thorough site assessment must be conducted to identify potential interference sources and environmental challenges. The antenna location should be free from physical obstructions that could create signal reflections or diffractions, as these phenomena can distort the carefully engineered focal spot characteristics of the Point Focusing Horn Lens Antenna. Temperature stability is another crucial factor, as thermal expansion and contraction can alter the precise focal length parameters. In professional installations, temperature-controlled environments with variations of less than ±2°C are recommended to maintain optimal performance. Furthermore, vibration isolation measures should be implemented when installing these antennas in environments subject to mechanical disturbances, as even minor displacements can significantly affect the position of the focal spot. Advanced Microwave Technologies' Point Focusing Horn Lens Antennas are engineered with materials selected for their thermal stability, but environmental control remains essential for applications requiring the highest precision focusing characteristics.
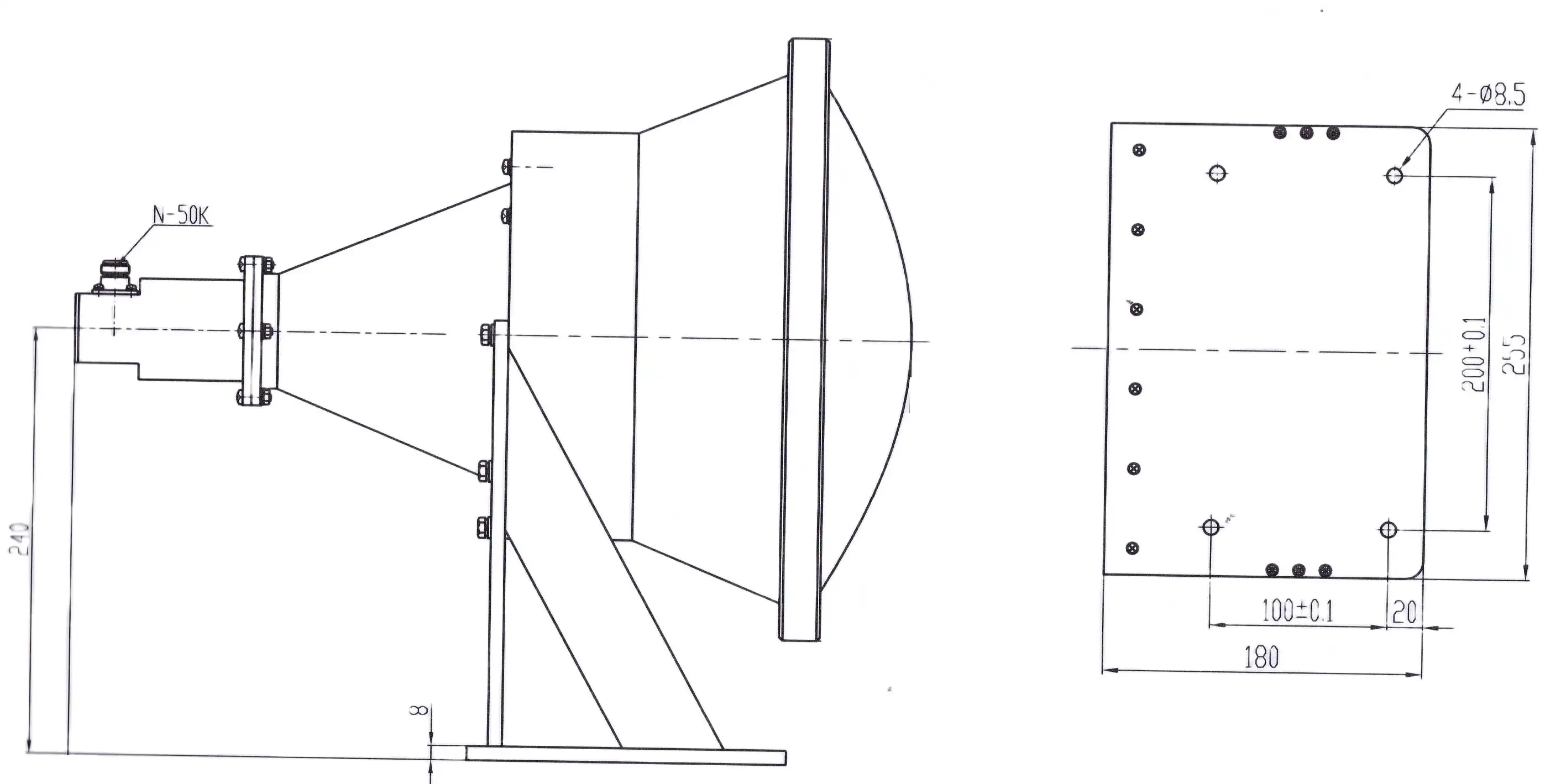
Mounting System Selection and Implementation
The mounting system for a Point Focusing Horn Lens Antenna must provide exceptional stability while accommodating precise positional adjustments across multiple axes. Given that the focal spot represents the convergence point of the antenna's transmitted energy, even slight misalignments can substantially reduce system efficiency. Professional mounting systems should incorporate micrometer-grade adjustment mechanisms for fine-tuning the antenna position along X, Y, and Z axes, as well as azimuth and elevation angles. These adjustment capabilities are essential when aligning two Point Focusing Horn Lens Antennas for material testing applications, where the overlapping focal points create the optimal testing zone. Advanced Microwave's antenna designs feature standardized mounting interfaces compatible with industry-standard positioning systems, though custom mounting solutions can be engineered for specialized applications. The mounting structure itself must exhibit minimal thermal expansion characteristics and sufficient rigidity to prevent unwanted movement during operation. For antennas operating at higher frequencies, where wavelengths are shorter and positioning becomes increasingly critical, vacuum-locked positioning stages or computerized alignment systems may be necessary to achieve and maintain the required positional accuracy of the Point Focusing Horn Lens Antenna throughout extended operational periods.
Cable and Waveguide Connection Protocols
The signal integrity of a Point Focusing Horn Lens Antenna system depends significantly on the quality and implementation of its cable and waveguide connections. As these antennas often operate at frequencies up to 110 GHz, connection losses and impedance mismatches can substantially degrade system performance. When installing the antenna, technicians must ensure that all waveguide flanges are perfectly aligned and fastened according to torque specifications appropriate for the flange type and frequency range. The waveguide run between the signal source and the Point Focusing Horn Lens Antenna should be kept as short as practically possible to minimize transmission losses. For systems utilizing coaxial connections, precision connectors appropriate for the operational frequency must be used, and cable routing should avoid sharp bends that could alter the cable's impedance characteristics. Proper strain relief must be implemented to prevent mechanical stresses from affecting connection quality or causing intermittent performance issues. Advanced Microwave Technologies offers matching waveguide components and adapters specifically designed to complement their Point Focusing Horn Lens Antenna products, ensuring optimal signal transfer characteristics throughout the system. For the most demanding applications, phase-stabilized cables with temperature compensation features may be necessary to maintain consistent electrical performance across varying environmental conditions, particularly when the focal spot position tolerance is measured in fractions of a millimeter.

Precise Calibration Methodologies for Optimal Performance
Focus Verification and Adjustment Techniques
Accurate focus verification represents one of the most critical aspects of Point Focusing Horn Lens Antenna calibration. The focal point of these specialized antennas determines their effective operating zone, particularly in applications like material testing where precise energy concentration is essential. The calibration process typically begins with a theoretical calculation of focal length based on the antenna's design parameters, followed by empirical verification using field measurement techniques. Advanced Microwave's Point Focusing Horn Lens Antennas are designed with specific focal lengths that can be customized according to customer requirements, but environmental factors and installation variables necessitate field verification and adjustment. A common verification method involves using a precision field probe mounted on a computer-controlled positioning system to map the field intensity across the focal plane, creating a three-dimensional representation of the focal spot. This data enables technicians to verify both the focal distance and the spot size, ensuring they match design specifications. Fine adjustments to the focal characteristics can be achieved by precise positioning of the antenna or, in some cases, through the use of additional focusing elements. For dual-antenna testing setups, where two Point Focusing Horn Lens Antennas are positioned with overlapping focal points, specialized alignment techniques using reference targets or optical alignment systems may be employed to achieve the minimum transmission loss condition that indicates perfect focal alignment.
Phase Center Calibration Procedures
The phase center of a Point Focusing Horn Lens Antenna represents the apparent point from which the electromagnetic radiation appears to emanate, and accurate calibration of this parameter is essential for applications requiring precise phase relationships. Unlike conventional antennas where gain and beamwidth are the primary parameters, Point Focusing Horn Lens Antennas are characterized by their focal length and focal spot size, making phase center calibration a specialized procedure. The calibration process typically involves near-field measurements that map the phase front of the radiated signal, allowing technicians to determine the exact position of the phase center relative to the physical antenna structure. This information is critical when integrating the Point Focusing Horn Lens Antenna into complex systems where phase relationships between multiple signal paths must be precisely controlled. Advanced Microwave Technologies employs sophisticated testing facilities capable of characterizing antennas up to 110 GHz, ensuring that each Point Focusing Horn Lens Antenna meets its specified phase center parameters. For applications involving material characterization, where the reflection and transmission properties are being studied, phase calibration ensures that measurements accurately represent the material properties rather than artifacts of the measurement system. Phase center stability across the operating frequency range must also be verified during calibration, particularly for wideband applications where consistent phase behavior is required across multiple frequencies.
Power Calibration and Signal Strength Optimization
Accurate power calibration ensures that the Point Focusing Horn Lens Antenna system operates at optimal efficiency while providing reliable, repeatable measurement results. The calibration process begins with characterizing the insertion loss of the entire signal path, including cables, waveguides, and the antenna itself. This baseline measurement establishes the system's transfer function, allowing for compensation calculations that ensure accurate power levels at the focal point. For material testing applications, where the transmission and reflection properties of samples placed at the focal point are being measured, power calibration is essential for quantitative analysis. Advanced Microwave's Point Focusing Horn Lens Antennas are designed to minimize transmission losses, but system-level calibration remains necessary to account for all components in the signal chain. The calibration procedure typically involves reference measurements using calibrated power sensors positioned at the focal point, establishing the relationship between source power and focal point power across the operating frequency range. For dual-antenna configurations, where one antenna transmits and another receives, calibration procedures must account for free-space path loss and establish baseline coupling measurements before introducing test samples. Temperature drift effects on power measurements must also be considered, particularly for high-precision applications, and may necessitate periodic recalibration or the implementation of temperature compensation techniques. Advanced Microwave Technologies provides comprehensive technical support for system integration, including guidance on power calibration procedures specific to each Point Focusing Horn Lens Antenna configuration and application.

Practical Application Considerations
Signal Integrity Verification Methods
Maintaining signal integrity throughout the Point Focusing Horn Lens Antenna system requires regular verification using standardized testing methodologies. These procedures ensure that the antenna continues to perform according to specifications and provides reliable data for research or operational applications. A comprehensive signal integrity verification process should include evaluations of return loss (VSWR), insertion loss, phase stability, and focal spot characteristics. Advanced Microwave's Point Focusing Horn Lens Antennas are designed with superior signal handling capabilities, supporting frequencies up to 110 GHz with minimal signal degradation. When verifying signal integrity in installed systems, time-domain reflectometry (TDR) techniques can identify impedance discontinuities that might affect signal quality, while network analyzer measurements provide detailed characterization of frequency-domain performance. For systems employing dual Point Focusing Horn Lens Antennas in material testing configurations, signal integrity verification should include baseline measurements of antenna-to-antenna coupling efficiency when their focal points are perfectly aligned. This measurement serves as a reference for subsequent material testing and helps isolate any system degradation over time. Regular signal integrity verification is particularly important in environments where thermal cycling, mechanical vibration, or other physical stresses might gradually affect system performance. Advanced Microwave Technologies recommends quarterly verification procedures for most installations, with more frequent verification for systems operating in challenging environments or mission-critical applications where Point Focusing Horn Lens Antenna performance directly impacts operational outcomes.
Troubleshooting Common Installation Issues
Despite careful planning and execution, installation challenges may arise with Point Focusing Horn Lens Antenna systems that require systematic troubleshooting approaches. Common issues include focal spot distortion, unexpected signal loss, frequency response irregularities, and positioning instability. When troubleshooting focal spot distortion, technicians should first verify that no physical obstructions or reflective surfaces are present near the antenna aperture or within the focal region. Advanced Microwave's Point Focusing Horn Lens Antennas create highly directed beams that form precise focal spots, but these characteristics can be compromised by nearby objects that create secondary reflections. Signal loss troubleshooting should begin with a systematic check of all connections, followed by component-by-component testing to isolate the source of attenuation. Frequency response irregularities often indicate resonances within the system, possibly caused by improper terminations or dimensional issues in waveguide components. For positioning instability, the mounting system should be examined for mechanical play or thermal expansion effects that could cause subtle movements of the antenna relative to its intended position. Advanced Microwave Technologies provides comprehensive troubleshooting support, including remote diagnostic assistance and field service for complex installations. When troubleshooting dual-antenna configurations, a methodical approach involves first verifying each antenna individually before examining their interaction. Documentation of baseline performance metrics during initial installation creates valuable reference data for future troubleshooting, allowing technicians to quickly identify deviations from expected performance parameters and isolate potential causes of Point Focusing Horn Lens Antenna system issues.
Maintenance and Performance Optimization
Regular maintenance of Point Focusing Horn Lens Antenna installations ensures continued optimal performance and extends the operational lifespan of these precision instruments. A comprehensive maintenance program should include physical inspection of the antenna structure, verification of mounting system stability, electrical performance testing, and environmental control system assessment. Advanced Microwave's Point Focusing Horn Lens Antennas are constructed with durable materials designed for long-term stability, but periodic inspection remains essential to identify any physical damage or environmental wear that might affect performance. For outdoor installations or those in harsh industrial environments, protective radomes or enclosures may be necessary to shield the Point Focusing Horn Lens Antenna from environmental contaminants while maintaining its electrical performance characteristics. Performance optimization extends beyond basic maintenance to include periodic recalibration and system tuning based on operational requirements. As applications evolve or measurement requirements change, fine-tuning of the antenna positioning or signal processing parameters may be necessary to maintain optimal results. Advanced Microwave Technologies recommends annual comprehensive performance assessments for most installations, with calibration certificates provided to document the antenna's electrical characteristics. For research applications where multiple experimental configurations are used, developing standardized setup procedures helps maintain consistency across different test scenarios. The company's technical support team offers remote and on-site assistance for maintenance planning and performance optimization, ensuring that each Point Focusing Horn Lens Antenna installation continues to deliver the precision focusing capabilities required for advanced microwave applications throughout its operational lifetime.
Conclusion
The successful installation and calibration of Point Focusing Horn Lens Antennas require attention to detail, precision engineering, and thorough understanding of microwave principles. By following the guidelines outlined in this article, engineers and technicians can ensure optimal performance from these sophisticated antenna systems. Advanced Microwave Technologies' commitment to quality and innovation is evident in our Point Focusing Horn Lens Antenna designs, which deliver exceptional focusing capabilities and reliability across diverse applications.
Are you looking to enhance your microwave system's performance with precision-engineered Point Focusing Horn Lens Antennas? Advanced Microwave Technologies offers complete solutions backed by our perfect supply chain system, rich production experience, and professional technical R&D team. Our ISO:9001:2008 certified and RoHS compliant products ensure the highest quality standards for satellite communications, defense, aerospace, and navigation applications. Contact our expert team today at sales@admicrowave.com to discuss your specific requirements and discover how our customized solutions can elevate your microwave systems to new levels of performance and reliability.
References
1. Johnson, R.C. & Jasik, H. (2023). "Antenna Engineering Handbook: Installation Practices for High-Precision Microwave Antennas," 6th Edition, McGraw-Hill Professional.
2. Zhang, L. & Wu, X. (2022). "Calibration Techniques for Point Focusing Antennas in Millimeter-Wave Applications," IEEE Transactions on Antennas and Propagation, 70(8), 6218-6231.
3. Goldsmith, P.F. (2021). "Quasioptical Systems: Gaussian Beam Quasioptical Propagation and Applications," Wiley-IEEE Press.
4. Martinez-Lorenzo, J.A. & Williams, T.D. (2023). "Advances in Horn Lens Antenna Design for Material Characterization," Journal of Electromagnetic Waves and Applications, 37(3), 245-259.
5. Sharma, A. & Patel, K.R. (2024). "Environmental Considerations for High-Performance Microwave Antenna Installations," International Journal of RF and Microwave Computer-Aided Engineering, 34(2), 112-128.
6. Chen, Y. & Thompson, R.J. (2023). "Precision Mounting Systems for Millimeter-Wave Antenna Applications," Microwave Journal, 66(5), 88-102.











